Фундаментный болт (анкерный болт) — крепёжная деталь в виде прутка с резьбовой частью на одном конце и специального приспособления, удерживающего фундаментный болт внутри фундамента, предназначенная для крепления строительных конструкций и оборудования. Фундаментные болты используются на всех типах строительства: от стандартного здания до дамб и атомных электростанций. Обеспечивают надёжное крепление только к прочным, нехрупким и неэластичным основаниям.
На торце шпилек наносится маркировка с обозначением номинального диаметра резьбы и длины шпильки в сантиметрах. Для шпилек М12 марка наносится на бирку, прикрепляемую к комплекту шпилек. На шпильках, предназначенных для болтов, эксплуатируемых при расчетной зимней температуре наружного воздуха ниже −40°С, в марке дополнительно указываются буквы ХЛ.
Чертежи фундаментных болтов ГОСТ 243791.1-80
| Тип 1 Болты фундаментные изогнутые |
Тип 2 Болты фундаментные с анкерной плитой |
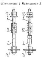
Тип 3 Болты фундаментные составные |
![]() |
![]() |
|
| Тип 4 Болты фундаментные съемные |
Тип 5 Болт фундаментный прямой |
Тип 6 Болты фундаментные с коническим концом |
| |
![]() |
![]() |
Условные обозначения: 1-10 — шпилька; 11, 12 — плита анкерная; 13 — муфта; 14 — анкерная арматура; 15 — цанга разжимная; 16 — втулка коническая; 17 — шайба; 18 — гайка по ГОСТ 5915-70; 19 — гайка по ГОСТ 10605-72.
Комплектность и размеры фундаментных болтов ГОСТ 24379.1-80
| Тип болта | Исполнение | Наименование болта | Номинальный диаметр, мм | Детали и сборочные единицы комплекта | Количество |
|---|---|---|---|---|---|
| 1 | 1 | Болты фундаментные изогнутые | 12-48 | 1. Шпилька (поз. 1) 2. Шайба 3. Гайка по ГОСТ 5915-70 |
1 1 2 |
| 2 | 1. Шпилька (поз. 1) 2. Шайба 3. Гайка по ГОСТ 5915-70 |
1 1 2 |
|||
| 2 | 1 | Болты фундаментные с анкерной плитой | 16-48 | 1. Шпилька (поз. 3) 2. Плита анкерная (поз. 11) 3. Шайба 4. Гайка по ГОСТ 5915.-70 |
1 1 1 4 |
| 2 | 56-90 | 1. Шпилька (поз. 4) 2. Плита анкерная (поз. 11) 3. Шайба 4. Гайка по ГОСТ 10605-72 |
1 1 1 4 |
||
| 3 | 100-140 | 1. Шпилька (поз. 4) 2. Плита анкерная (поз. 13) 3. Шайба 4. Гайка по ГОСТ 10605-72 |
1 1 2 3 |
||
| 3 | 1 | Болты фундаментные составные | 24-48 | 1. Шпилька (поз. 3) 2. Шпилька (поз. 5) 3. Муфта (поз. 13} 4. Плита анкерная (поз. 11) 5. Шайба 6. Гайка по ГОСТ 5915-70 |
1 1 1 1 1 4 |
| 2 | 56-64 | 1. Шпилька (поз. 4) 2. Шпилька (поз. 5) 3. Муфта (поз. 13) 4. Плита анкерная (поз. 11) 5. Шайба 6. Гайка по ГОСТ 10605-72 |
1 1 1 1 1 4 |
||
| 4 | 1 | Болты фундаментные съемные | 24-48 | 1. Шпилька (поз. 5) 2. Арматура анкерная (поз. 14, исполнение 1) 3. Шайба 4. Гайка по ГОСТ 5915-70 |
1 1 1 2 |
| 2 | 56-125 | 1. Шпилька (поз. 6) 2. Арматура анкерная (поз. 14, исполнение 2) 3. Шайба 4. Гайка по ГОСТ 10605-72 |
1 1 1 2 |
||
| 3 | 56-100 | 1. Шпилька (поз. 6) 2. Арматура анкерная (поз. 14, исполнение 3) 3. Шайба 4. Гайка по ГОСТ 10605-72 |
1 1 1 2 |
||
| 5 | - | Болты фундаментные прямые | 12-48 | 1. Шпилька (поз. 7) 2. Шайба 3. Гайка по ГОСТ 5915-70 |
1 1 2 |
| 6 | 1 | Болты фундаментные с коническим концом | 12-48 | 1. Шпилька (поз. 8) (поз. 15) 2. Цанга разжимная (поз. 15) 3. Шайба. 4. Гайка по ГОСТ 5915-70 |
1 1 1 2 |
| 2 | 1. Шпилька (поз. 9) 2. Втулка коническая (поз. 16) 3. Шайба 4. Гайка по ГОСТ 5915-70 |
1 1 1 2 |
|||
| 3 | 1. Шпилька (поз. 10) 2. Шайба 3. Гайка по ГОСТ 5915-70 |
1 1 2 |



